11
27

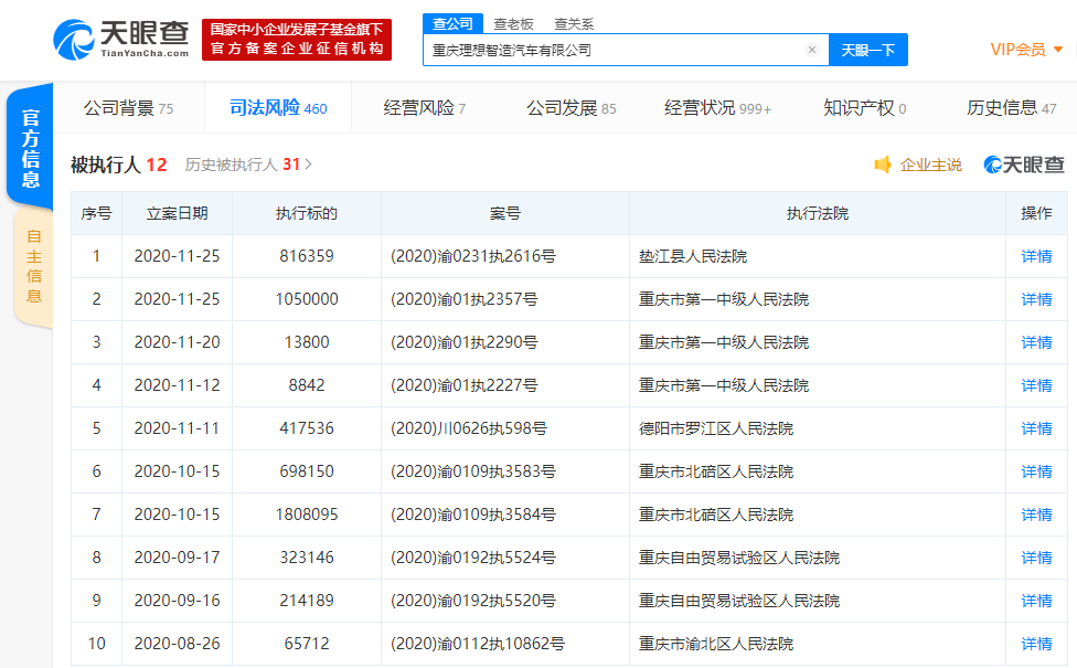
重庆理想智造汽车有限公司再被执行,目前累计执行标的超一千万

2020-11-27 13:49分享至
36氪获悉,天眼查App显示,近日,重庆理想智造汽车有限公司再成被执行人,于11月25日新增两条被执行人信息,案号分别为:(2020)渝0231执2616号、(2020)渝01执2357号,执行标的分别为816359元、1050000元,合计约186.64万。目前累计执行标的已超一千万。原文链接
重庆理想智造汽车有限公司再被执行,目前累计执行标的超一千万

下一篇

24日,由中国(眉山)主导制订、眉山市市场监管局牵头负责的国际标准ISO 24220《泡菜(盐渍发酵蔬菜)规范和试验方法》顺利通过国际标准化组织最终国际标准草案阶段(批准阶段)为期2个月的投票。这标志着历时3年零7个月的泡菜国际标准制定工作走完全部流程,正式进入出版阶段。这是中国泡菜产业实质性参与国际标准化工作的直接体现,也是中国在ISO框架下制定的第6个食品标准。(每日经济新闻)

2020-11-27

36氪APP让一部分人先看到未来
36氪
鲸准
氪空间

推送和解读前沿、有料的科技创投资讯

一级市场金融信息和系统服务提供商

聚焦全球优秀创业者,项目融资率接近97%,领跑行业