沃尔玛新专利:飘在空中的仓库用无人机给你送货
编者按:本文来自网易科技,编译:小小,36氪经授权发布。
据CNBC报道,零售巨头沃尔玛已经在美国申请了“漂浮仓库”的专利,它可以通过无人机将包裹送到客户家门口。这可能是沃尔玛将其电子商务业务推向下个水平的最新举措。彭博社首先报道了这一消息,而该专利是2月份提交的。
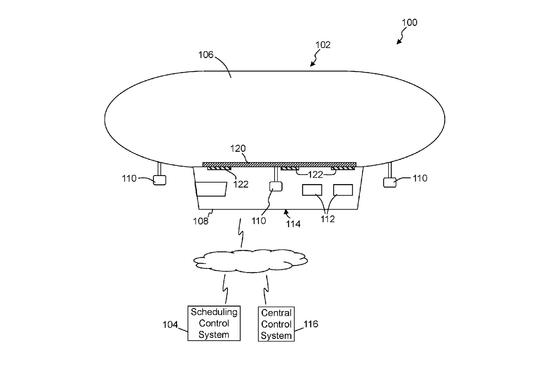
这个“漂浮仓库”看起来很像飞艇,它能在海拔300米以上的空中漂浮,可自主运行,也可通过飞行员遥控操作。该专利描述称:“这是个充满气体的航空母舰,并利用无人机运送产品。在现代零售环境中,有必要改善客户服务或为客户提供更多方便。客户服务的一个方面就是产品的可得性,而产品可得性在某种程度上取决于产品的分销。分销和递送产品的方法很多,可是将产品送到送货地点会引起不必要的延误,增加成本,减少收入。”
沃尔玛的代表没有立即回应CNBC的置评请求。但值得注意的是,亚马逊已经于去年获得了类似的专利。这两家公司始终处于并驾齐驱的状态,沃尔玛的数字业务不断增长,而亚马逊则不断加强其房地产投资组合,现在正计划收购连锁超市Whole Foods。
数据提供商CB Insights发现,去年10月份,沃尔玛曾提交另一项蚕食亚马逊业务的专利。它是类似于互联网巨头的Dash按钮,只需点击1下就可以重新无缝订购日常商品。沃尔玛不久前公布了第二季度财报,显示该季度数字领域销售额增长了60%。去年9月份收购Jet.com后,沃尔玛任命其创始人马克·劳尔(Marc Lore)负责领导其电子商务部门。
与当前固定设施相比,漂浮仓库将允许沃尔玛或亚马逊大幅扩张其销售区域。现在,主要看哪家公司能使这项技术更早发挥作用。本周早些时候,Target宣布收购Grand Junction的计划,后者是一家技术运输公司,可为Target更多客户提供更快的当日达服务。















