二代Google Glass又来,“取消镜片”有用么?

董雨晴·2015年11月28日 21:37
然而,并没有什么用。

Google Glass第一代已死,新团队接收后正在开发第二代,近日二代产品爆出消息,据称在此款眼镜中将取消镜片,让Google Glass变身智能耳麦。

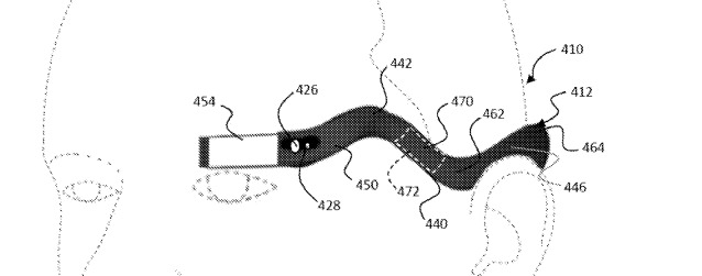
根据Google获得的新专利显示,二代Google Glass分为三款,其中一款将取消镜片,可能会变成一个智能耳麦,同一代一样,它的镜腿同样可以通过触控操作,眼睛前方的显示屏可以播放视频,该专利细节还透露如何通过棱镜或其它设备,让用户的两只眼睛可以看到同一幅景象。有人猜想,该功能可用于体育赛事转播等。

Image title

其它几款中,一款将仍旧保留镜片,主要面向企业发售,例如医疗、工业制造等场景。

一代Google Glass问世之前外界充满了猎奇的态度,不过很快就引来了争议,比如偷拍可以更加方便,隐私问题无从解决,接着没多久,人们又开始怀疑当人们开车时佩戴该眼镜是否安全,今年1月,谷歌就此产品不堪重负停止了该眼镜的售卖,新一代的Google Glass或将于2016年面市。

+1
0

好文章,需要你的鼓励

参与评论
评论千万条,友善第一条
后参与讨论
提交评论0/1000

下一篇

曾经的Game Boy还好么。

2015-11-28

36氪APP让一部分人先看到未来
36氪
鲸准
氪空间

推送和解读前沿、有料的科技创投资讯

一级市场金融信息和系统服务提供商

聚焦全球优秀创业者,项目融资率接近97%,领跑行业