三星“奇葩”折叠屏专利:横竖、内外任意折,还能当笔记本电脑
智东西2月15日消息,折叠屏手机一哥三星今天又发布了一项奇葩的“双折”折叠屏手机专利,这款手机将同时具备横折、竖折、外折、内折四种能力。
听起来是不是很神奇,具体怎么实现的呢?
▲横折
▲竖折
这款手机横折时屏幕向外,用户可以获得一部拥有前后两块屏幕的手机。而竖向折叠时,屏幕向内,可以很好的将屏幕保护在里面,避免了折叠后屏幕容易被划伤的问题。
这样的想法颇有些大胆,也成为又一种突破性的折叠屏手机设计方案。
值得一提的是,这款手机在竖折时,还可以将两部分屏幕分别用作“显示器”和“键盘”,成为一款迷你笔记本电脑。
▲图中为三星Flex Note折叠屏笔记本概念机,本文提到的专利中的竖折方式与之类似,仅作参考,非本文专利实际演示
根据专利信息来看,三星在去年7月就向世界知识产权组织(WIPO)提交了这项专利,标题为“可折叠电子设备”,专利总共包含了57页文档,其国际公开日期为2022年2月10日。
▲三星专利文件
01.横竖、内外任性折叠手机、平板、电脑三合一
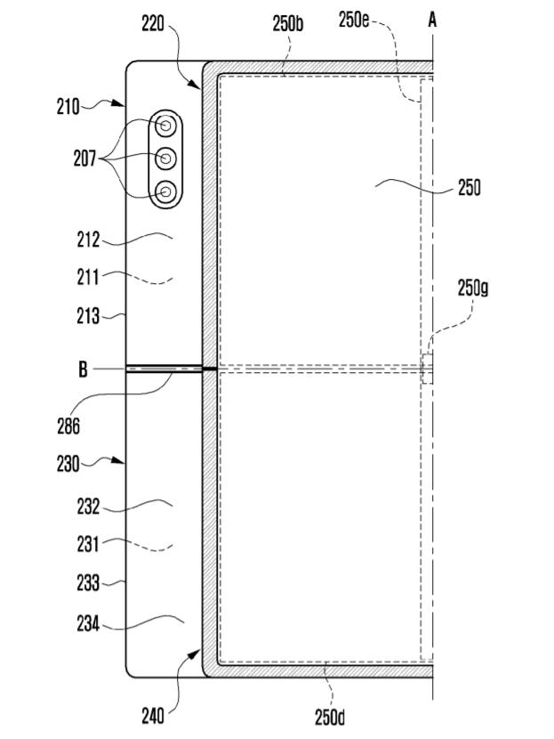
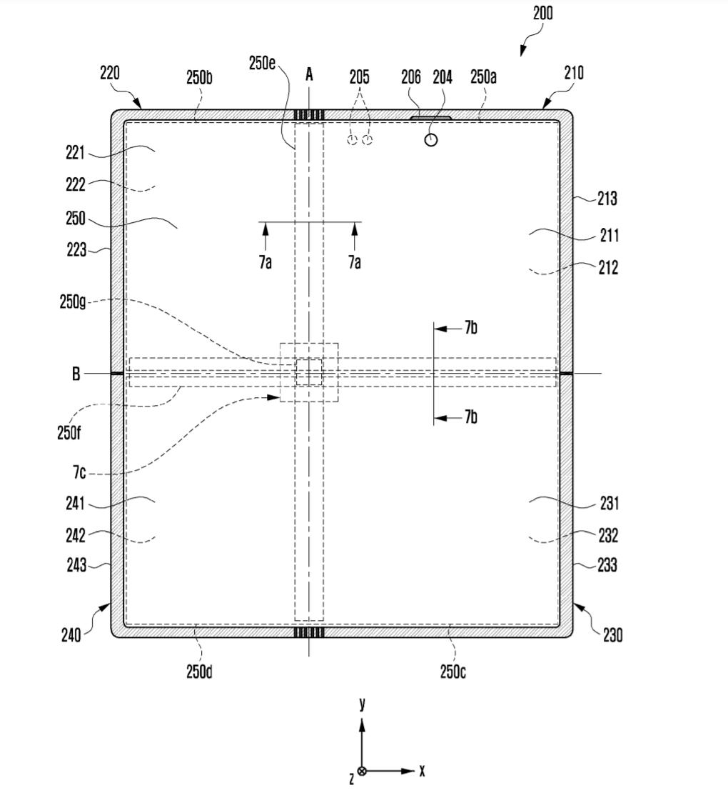
具体来看这项专利,这款折叠屏手机将会有两组铰链,分别在水平和竖直两个方向上,水平的铰链位于屏幕二分之一处,而竖直的铰链则位于屏幕正中间偏左一点。
由于有这两组铰链,手机就可以竖折或者横折,不过这两种形态不能同时存在,只能保持其中一种形态。
手机展开后,屏幕的尺寸与Galaxy Z Fold3基本一致,不过“折痕”位置则由于铰链位置不同而有所区别。
当用户横向折叠手机时,左侧屏幕会向后折到背面去,类似初代华为Mate X手机。
▲华为Mate X
此时背面的三颗手机摄像头也可以正常使用,并且由于背面多出来一块屏幕可以显示画面,用户也可以利用背面的高素质主摄进行自拍。
▲手机横折后的背面示意图
这种非对称式的横向折叠,也使得折叠后正面手机屏幕尺寸与正常手机尺寸类似,更方便信息显示和用户使用。如果竖直铰链位于屏幕中央,折叠后屏幕尺寸可能会过窄。
目前,不论是横向还是竖向折叠,大部分折叠屏手机采用的都是内折方案,因为这样可以较好地保护内部较为脆弱的柔性AMOLED屏幕。
但是内折会导致屏幕的弯折半径大幅减少,给屏幕耐久度和铰链设计带来更大挑战。
▲内折(R=1.4)与外折(R=5)的对比示意图
为了解决这一矛盾,三星这次换了一种思路,不要只取其一,鱼和熊掌它都要兼得。
此时水平方向上的铰链此时就排上了用场,当手机沿着水平铰链竖向折叠时,屏幕是向内的,折叠后,屏幕就被保护在了里面。
▲手机竖折后的背面示意图
另外,竖向折叠时,手机上下两块屏幕的比例非常接近16:9,而目前很多笔记本的屏幕比例都是16:9。
想到什么了吗?没错!这款折叠屏手机在竖向折叠时,还可以将一部分屏幕作为“虚拟键盘”,另一半屏幕作为“显示器”,成为一个迷你“笔记本电脑”。
▲折叠屏笔记本示意图(非文中专利对应示意图)
当然,如果作为笔记本电脑来使用,屏幕尺寸是有些小了,但不得不说,三星在屏幕技术方面开的脑洞着实令人佩服。
并且值得注意的是,业内人士认为这项专利提出的是一种非常通用的模型,这种设备可以让平板、智能手机、笔记本电脑之间的边界变得更加模糊,甚至可以将这三者的所有功能集于一身。
02.屏幕材料、铰链结构面临技术挑战
不过,这种设计既然包含了两条铰链,那么折痕也就多了一条,对于屏幕和铰链的设计也提出了更多技术层面的挑战。
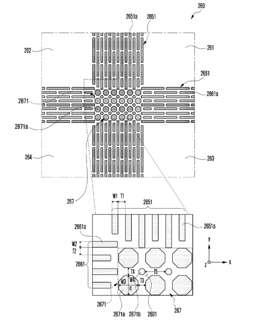
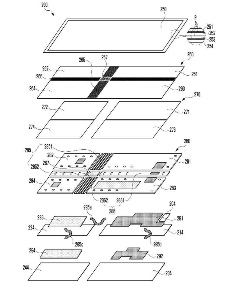
最显而易见的难点就是两条铰链交汇处的屏幕要如何做?这个区域的屏幕,既要能够向外折叠,又要能够向内折叠。
▲手机内部大致结构示意图
小时候我们都有过这样的经历,一根铁丝,向一个方向弯折多次可能都不会折断,但当每次向不同方向反复弯折一根铁丝时,它就变得非常脆弱,极易折断。
坚硬的铁丝尚且如此,何况是一块脆弱的屏幕,其能否经受住几十万次的不同方向反复折叠,是非常关键的。
另外,交汇处的铰链该如何同时具备不同方向上的可弯折性,同时还具有较强的耐久度,都是需要解决的问题。
▲交汇处支撑结构的简易示意图
可以想象,在屏幕材料和机械结构方面,三星必然要有所突破才能够实现这一专利所描述的方案。
03.折叠屏手机形态的又一次大胆探索
此前,三星已经申请过一些双折折叠屏手机专利,甚至在今年1月初的CES大会上,三星直接掏出了三款双折折叠屏概念机,包括三星Flex S系列和三星Flex G系列。
▲三星Flex S系列
根 据现场三星展示的样机来看,不论是“S”型折叠还是“G”型折叠,两种方案都已经具备较好的可用性,不仅屏幕折叠起来很流畅,屏幕显示效果也能保持比较好的水平。
▲三星Flex G系列
虽然三星还没有量产过一款外折折叠屏手机,但我们能够看到,Flex S系列的实现难度已经远在外折之上,因为S型折叠是包含外折在内的。
这次,三星将内折、外折、横折、竖折充分融合在一起,带出了这项脑洞大开的专利。
不论怎样,我们能够看到三星在折叠屏手机的技术探索上是非常执着的,并且在折叠屏手机的量产方面,也一直走在前面。
去年一年,三星卖出了全球九成的折叠屏手机。根据Counterpoint数据,全球每卖出10台折叠屏手机,有将近9台都是三星的。
▲三星折叠屏机型统计
从2019年至今,三星已经发布了7款折叠屏手机,是所有智能手机厂商中发布机型最多的,其今年三季度发布的Galaxy Z Flip“化妆盒”折叠屏手机也成为了2021年销售最火爆的折叠屏手机。
04.结语:“折叠屏”给智能设备形态带来更多可能
三星对于折叠屏手机形态的大胆探索,让我们看到,手机、平板、电脑之间的品类区隔似乎不再那样绝对,“折叠”的特性让更多设计有了落地实现的可能,而这背后,屏幕、铰链核心技术的突破,才是关键。
目前三星的Note系列暂停,折叠屏系列以及S系列成为了三星中高端市场的绝对主力,因此三星毫无疑问会继续加码折叠屏技术的探索。
折叠屏手机品类历经三年多发展,体量规模快速增长,随着国内主流智能手机厂商纷纷入局折叠屏市场,折叠屏手机品类能否在2022年迎来自己真正的高光时刻,值得期待。
来源:Letsgodigital
本文来自微信公众号 “智东西”(ID:zhidxcom),作者:云鹏,36氪经授权发布。















