07
02

暴风集团股份有限公司再次新增被执行人信息

2019-07-02 15:24分享至
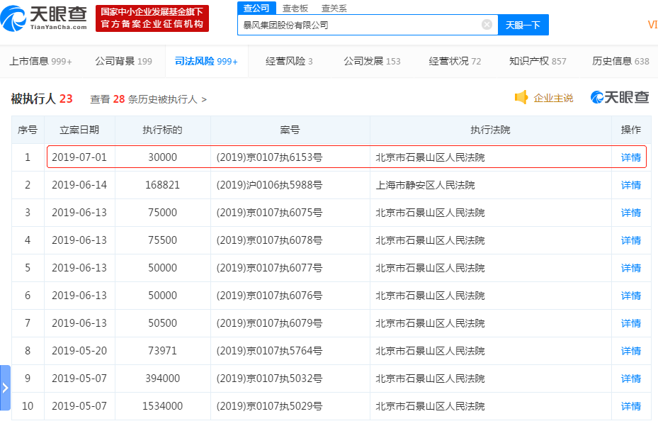
36氪获悉,天眼查数据显示,7月1日,暴风集团股份有限公司新增一条被执行人信息,执行标的30000。天眼查变更记录显示,暴风集团自2019年以来,50次被法院列为被执行人,并且在2019年6月4次新增失信被执行人信息,其原因均为:有履行能力而拒不履行生效法律文书确定义务。原文链接
暴风集团股份有限公司再次新增被执行人信息

下一篇

36氪获悉,据“工信微报”消息,工信部今日通报2019年一季度电信服务质量情况并公布一季度用户个人信息保护检查发现问题的互联网企业名单,其中猎豹浏览器、小红书、网易考拉、融360等多款App存在未经用户同意收集个人信息的问题,畅游+、凤凰FM、超阅书城、暴风金融等多款App存在未提供账号注销服务的问题。

2019-07-02

36氪APP让一部分人先看到未来
36氪
鲸准
氪空间

推送和解读前沿、有料的科技创投资讯

一级市场金融信息和系统服务提供商

聚焦全球优秀创业者,项目融资率接近97%,领跑行业