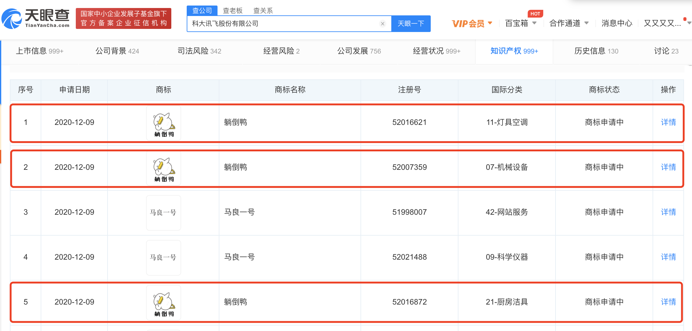
36氪获悉,天眼查App显示,近日,科大讯飞股份有限公司新增申请多条“躺倒鸭”的商标信息。商标涉及的国际分类包含灯具空调、机械设备、厨房洁具,申请日期均在2020年12月9日,目前商标状态为“商标申请中”。原文链接
36氪获悉,天眼查App显示,近日,天津新东方培训学校有限公司发生工商变更,俞敏洪退出该公司法定代表人,由耿耿接任。天津新东方培训学校有限公司成立于2018年12月,注册资本250万元人民币,经营范围含培训、业余面授。该公司由新东方教育科技集团有限公司全资持股。
2020-12-23
8点1氪|屈臣氏CEO在香港跳海救人;三只松鼠回应员工入职要改姓“鼠”;“潜水员水下关闭他人气瓶”,PADI回应
9.9 元 “ 偷甘蔗 ” 突然全网爆火,人流量暴涨,老板亏出血,狗都累倒了...
推送和解读前沿、有料的科技创投资讯
一级市场金融信息和系统服务提供商
聚焦全球优秀创业者,项目融资率接近97%,领跑行业